Методы регулировки регулятора тормозных сил на автомобиле Нива Шевроле — практические рекомендации владельцам

Автомобильная безопасность — одно из самых важных условий для комфортной езды. Одним из основных элементов безопасности является тормозная система. Но иногда возникают проблемы, связанные с тормозами. Например, у некоторых владельцев автомобиля Нива Chevrolet возникает вопрос о регулировке регулятора тормозных сил. В данной статье мы рассмотрим, как правильно выполнить эту процедуру для вашего автомобиля.

Регулятор тормозных сил (РТС) — это устройство, которое позволяет установить подходящий диапазон тормозных воздействий на передние и задние колеса вашего автомобиля. Он является важной частью тормозной системы, и его регулировка играет критическую роль в обеспечении безопасности во время торможения.

Перед началом процедуры регулировки регулятора тормозных сил необходимо убедиться, что ваш автомобиль находится на ровной поверхности и припаркован в безопасном месте. Также убедитесь, что двигатель выключен и стояночный тормоз активирован. Далее следует открыть капот автомобиля и найти регулятор тормозных сил, который находится рядом с вакуумным усилителем тормозной системы. Обычно он представляет собой устройство с ручкой, помеченной стрелками плюс и минус.

Что такое регулировка регулятора тормозных сил?

Основная цель регулировки регулятора тормозных сил — обеспечить оптимальное торможение и предотвратить блокировку колес во время торможения. Если регулятор тормозных сил не настроен правильно, это может привести к неправильной работе тормозной системы и ухудшению общей безопасности автомобиля.

Регулировка регулятора тормозных сил обычно выполняется автосервисом или квалифицированным специалистом. В процессе регулировки используются специальные инструменты и средства, позволяющие точно настроить давление в задних тормозных колодках.

Рекомендуется проводить регулировку регулятора тормозных сил регулярно или при необходимости, например, при подозрении на неправильную работу тормозной системы или замене тормозных колодок. Это поможет обеспечить безопасность движения и правильную работу тормозов на автомобиле Нива Шевроле.

Каким образом производится регулировка?

Регулировка регулятора тормозных сил на Ниве Шевроле выполняется в целях обеспечения оптимальной эффективности тормозной системы. Процедура регулировки включает в себя следующие шаги:

1. Подготовка автомобиля

Перед началом регулировки необходимо убедиться, что автомобиль находится на ровной площадке и находится в нейтральном положении.

2. Открываем доступ

Для доступа к регулятору тормозных сил нужно снять заднее колесо с той стороны, на которой нужно произвести регулировку.

3. Регулировка регулятора тормозных сил

После снятия колеса можно увидеть регулятор тормозных сил, расположенный на задней оси автомобиля. С помощью специального инструмента или при помощи отвертки можно выполнить регулировку путем поворота регулятора в одну или другую сторону.

Регулировку следует проводить медленно и осторожно, чтобы достичь желаемой эффективности тормозной системы. Рекомендуется провести тестовую поездку после регулировки, чтобы убедиться в правильной работе тормозов.

Важно отметить, что для выполнения регулировки регулятора тормозных сил рекомендуется обратиться к профессиональному автомеханику или следовать инструкциям производителя, чтобы избежать возможных ошибок и повреждений.

Тормозные силы на Ниве и Шевроле

Функция регулятора тормозных сил

Регулятор тормозных сил, известный также как комбинированный регулятор, выполняет важную роль в тормозной системе Нивы и Шевроле. Его задача — распределять тормозные силы между передними и задними тормозными механизмами, обеспечивая стабильное и безопасное торможение.

В основном, регулятор тормозных сил применяется в автомобилях с задним приводом. Он регулирует усилие давления на тормозные механизмы в зависимости от условий движения и скорости автомобиля.

Регулировка регулятора тормозных сил

  1. Перед началом регулировки регулятора тормозных сил необходимо убедиться, что тормозная система в нормальном состоянии и не имеет повреждений или утечек.
  2. Поднимите заднюю часть автомобиля, чтобы колеса не касались земли.
  3. Найдите регулятор тормозных сил, который обычно расположен вблизи тормозного барабана на задней оси автомобиля.
  4. Освободите регулятор тормозных сил, поворачивая его против часовой стрелки.
  5. Затем постепенно наложите тормоз, чтобы позволить регулятору регулировать тормозные силы в нужной пропорции.
  6. Убедитесь, что задние колеса автомобиля легко вращаются при слабом нажатии на педаль тормоза.
  7. При необходимости повторите регулировку, чтобы достичь оптимальной работы тормозной системы.
Читайте также:  Нива 2023 кросс - представлены обновленные возможности и роскошный дизайн нового поколения

Правильная регулировка регулятора тормозных сил на Ниве и Шевроле обеспечит эффективное и безопасное торможение автомобиля. При необходимости, обратитесь к профессионалам для проведения дополнительной проверки и регулировки тормозной системы у авторизованного сервисного центра.

Важные моменты при регулировке

При регулировке регулятора тормозных сил на Ниве Шевроле необходимо учитывать несколько важных моментов. Регулятор тормозных сил служит для корректировки рабочего распределения тормозных усилий между передними и задними колесами автомобиля.

Для успешной регулировки необходимо установить рабочую нагрузку в соответствии с техническими характеристиками автомобиля. Это особенно важно при перевозке грузов или наличии пассажиров в салоне.

Перед началом регулировки следует убедиться, что светодиод на регуляторе тормозных сил не горит. Если светодиод горит, это может указывать на неисправность системы ABS или наличие ошибок в электрической цепи.

1. Регулировка баланса тормозных сил

Перед началом регулировки необходимо проверить колодки и тормозные диски на предмет износа. Инструкция по замене тормозных колодок должна быть соблюдена.

Процесс регулировки баланса тормозных сил начинается с блокировки переднего колеса. Затем ручку регулятора тормозных сил следует повернуть вправо или влево в зависимости от потребности.

Для определения оптимального баланса тормозных сил рекомендуется произвести несколько тестовых замедлений на дороге с нормальным покрытием. При необходимости процедуру регулировки следует повторить.

2. Проверка эффективности тормозов

После регулировки рекомендуется проверить эффективность работы тормозной системы. Для этого следует произвести тестовое замедление на безопасной дороге.

Оценивается следующее:

  • Равномерность замедления
  • Отсутствие лишних шумов и вибрации
  • Равномерное развитие тормозных усилий на всех колесах
  • Остановка автомобиля без смещения траектории
  • Работоспособность ABS, если он установлен на автомобиле

Если в процессе проверки обнаружатся какие-либо неисправности или неполадки, рекомендуется обратиться к квалифицированному специалисту для диагностики и исправления проблем.

Порядок действий при регулировке

  1. Подготовьте автомобиль для работы, положив его на стояночный тормоз и выключив двигатель.
  2. Поднимите переднюю часть автомобиля, чтобы обеспечить доступ к тормозной системе.
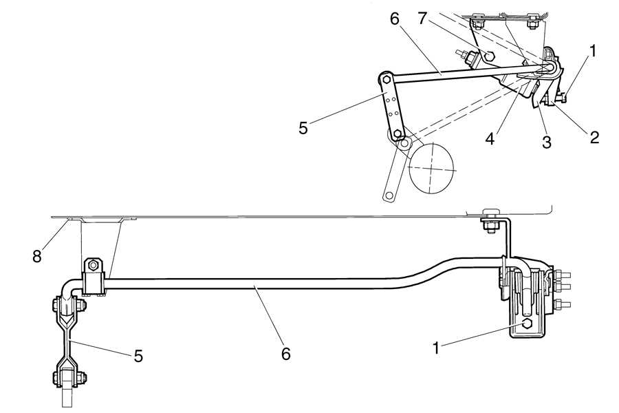
  3. Найдите месторасположение регулятора тормозных сил. Обычно он находится на торце рамы под водительской дверью.
  4. Ослабьте гайку регулятора с помощью соответствующего инструмента.
  5. Вращайте регулятором вправо или влево для изменения направления тормозных сил. Правильное положение регулятора обеспечит равномерное торможение колес.
  6. Затяните гайку регулятора после достижения необходимой регулировки.
  7. Проверьте эффективность тормозной системы, выполнив несколько тестовых затормаживаний на пустой дороге.

Помните, что неправильно регулированный регулятор тормозных сил может вызвать неравномерное торможение и снизить общую эффективность тормозной системы автомобиля. Регулярные проверки и регулировки помогут поддерживать надлежащую работу тормозов и безопасность на дороге.

Когда нужно проводить регулировку регулятора тормозных сил?

Регулятор тормозных сил в автомобиле Нива Шевроле играет важную роль в обеспечении безопасности во время движения. Он отвечает за правильное распределение тормозной силы между передними и задними колесами, что позволяет автомобилю останавливаться более устойчиво и предотвращает заносы во время торможения.

Регулятор тормозных сил может потребовать регулировки в следующих случаях:

  • При замене тормозных колодок или тормозных дисков;
  • При появлении заносов или шатания автомобиля при резком торможении;
  • Если автомобиль долго стоял без использования и транспортные цепи заблокировались;
  • Если водитель заметил неравномерное торможение или потерю эффективности тормозов.
Читайте также:  Феномен - белая нива в рапторе или загадочные следы, ведущие в никуда

Регулировка регулятора тормозных сил проводится специалистом на автосервисе. Она состоит в проверке работы регулятора, при необходимости его очистке от грязи и устранении возможных неисправностей. Также специалист может произвести калибровку регулятора для установки оптимальных параметров торможения.

Правильная работа регулятора тормозных сил обеспечивает оптимальные тормозные характеристики автомобиля и повышает безопасность на дороге. Поэтому регулярная проверка и регулировка регулятора тормозных сил важны для поддержания автомобиля в исправном состоянии.

Плюсы и минусы самостоятельной регулировки регулятора тормозных сил автомобиля Нива Шевроле

  • Плюсы:
  • — Экономия времени и денег. Самостоятельная регулировка регулятора тормозных сил позволяет вам не обращаться к специалистам и сэкономить на оплате их услуг.
  • — Повышение безопасности. Правильная настройка регулятора тормозных сил обеспечивает равномерное срабатывание тормозной системы и снижает риск блокировки колес при торможении.
  • — Улучшение управляемости автомобилем. Балансировка тормозных сил позволяет предотвращать скольжение или рывки при торможении, что положительно сказывается на управляемости и комфорте вождения.
  • Минусы:
  • — Ошибка настройки. Неправильная регулировка регулятора тормозных сил может привести к неравномерному распределению тормозных усилий и ухудшить тормозные характеристики автомобиля.
  • — Потеря гарантийных обязательств. При самостоятельной регулировке регулятора тормозных сил, возможно нарушение гарантийных условий и отказ производителя в ремонте или замене деталей тормозной системы.
  • — Отсутствие специальных знаний и опыта. Для успешной регулировки регулятора тормозных сил требуются определенные навыки и знания автомобильной техники, которые у владельца могут отсутствовать.

В целом, самостоятельная регулировка регулятора тормозных сил имеет как свои плюсы, так и минусы. Перед принятием решения следует взвесить все факторы и, при необходимости, проконсультироваться с экспертами для минимизации рисков и обеспечения правильной работы тормозной системы автомобиля.

Какие инструменты необходимы для регулировки?

Для регулировки регулятора тормозных сил на Ниве Шевроле понадобятся следующие инструменты:

1. Гаечные ключи

Необходимо использовать гаечные ключи различных размеров для откручивания и закручивания болтов регулятора тормозных сил. Рекомендуется иметь гаечные ключи следующих размеров: 8 мм, 10 мм и 12 мм.

2. Отвертки

Для регулировки некоторых механизмов регулятора тормозных сил могут потребоваться отвертки. Используйте отвертки с прямым и крестообразным наконечниками различных размеров.

3. Нож

В некоторых случаях может потребоваться нож для удаления поврежденных элементов или обрезки проводов, если это необходимо.

При выполнении регулировки рекомендуется также иметь руководство по эксплуатации Нивы Шевроле, для более точных указаний по использованию инструментов и последовательности действий.

Альтернативные способы регулировки

Помимо стандартных методов регулировки регулятора тормозных сил на Ниве Шевроле, существуют и альтернативные способы:

  1. Использование специализированных регулировочных устройств. На рынке представлены различные приспособления, которые позволяют изменять силу торможения у автомобиля. Они устанавливаются параллельно главному тросу ручного тормоза и позволяют плавно регулировать тормозные силы с помощью ручки или регулятора.
  2. Использование регулировочных шайб. Данный метод требует опыта и знаний, однако может быть полезным в случаях, когда стандартная регулировка не дает нужного результата. Регулировочные шайбы устанавливаются на расточенные отверстия крепления тормозного рычага и позволяют изменять его положение.
  3. Проверка и, при необходимости, замена троса ручного тормоза. Поврежденный или изношенный трос может негативно сказаться на работе регулятора тормозных сил. Проверка его состояния и замена, при необходимости, помогут устранить проблемы с регулировкой.
Читайте также:  Создание самодельного якоря для лебедки на ниву - подробное руководство с пошаговыми инструкциями

При использовании альтернативных способов регулировки рекомендуется обращаться к специалистам или знатокам данной темы, чтобы избежать неправильной настройки и возможных проблем с работой тормозной системы.

Проблемы, которые могут возникнуть при регулировке

В процессе регулировки регулятора тормозных сил на Шевроле Нива могут возникнуть различные проблемы, которые могут затруднить или полностью остановить процесс.

1. Неправильная процедура регулировки

Одна из наиболее распространенных проблем при регулировке регулятора тормозных сил на Шевроле Нива — это неправильная последовательность выполнения действий. Процедура регулировки должна выполняться согласно инструкции производителя, в противном случае можно только усугубить проблему и повредить систему тормозов.

2. Несоответствие параметров регулятора

Еще одной типичной проблемой является несоответствие параметров регулятора тормозных сил на Шевроле Нива. Он может быть установлен на заводе в неправильных пределах или у него могут быть выбраны неправильные значения. В этом случае регулировка может оказаться бесполезной или даже вредной для системы тормозов.

3. Недостаточная базовая настройка

Еще одной проблемой может быть недостаточная базовая настройка регулятора тормозных сил. Если он был установлен неправильно или вовсе не был настроен, это может привести к неравномерной работе тормозов и даже к полной потере эффективности торможения.

Для избегания этих проблем рекомендуется доверить регулировку регулятора тормозных сил на Шевроле Нива профессиональным техническим специалистам, которые имеют опыт работы с данной моделью автомобиля.

На что обратить внимание после регулировки?

После проведения регулировки регулятора тормозных сил на Лада Нива Шевроле, необходимо обратить внимание на несколько важных моментов:

1. Проверьте работу тормозов:

После регулировки регулятора тормозных сил, необходимо убедиться, что тормоза работают правильно и эффективно. Проверьте их работу на прямой дороге, а также при выполнении поворотов и экстренных торможений. Убедитесь, что автомобиль останавливается равномерно и без проскальзывания колес.

2. Обратите внимание на звуки и вибрации:

После регулировки, следите за звуками и вибрациями, возникающими при торможении. Если вы замечаете новые или необычные звуки, стук или вибрации, обратитесь к специалисту для дополнительной проверки. Такие звуки и вибрации могут указывать на неисправности в тормозной системе.

3. Проверьте уровень тормозной жидкости:

Уровень тормозной жидкости должен быть на нормальном уровне. Проверьте ее уровень в расширительном бачке и убедитесь, что он находится в пределах допустимого диапазона. Если уровень тормозной жидкости ниже нормы, возможно, есть утечка или неисправность в тормозной системе.

4. Следите за работой тормозного света:

После регулировки регулятора тормозных сил, проверьте работу задних стоп-сигналов автомобиля. Убедитесь, что они светятся ярко и при фиксации тормоза автомобиля. Если стоп-сигналы не работают должным образом, замените перегоревшие лампочки или обратитесь к специалисту для диагностики проблемы.

Следуя этим рекомендациям, вы сможете обеспечить безопасную и эффективную работу вашей тормозной системы после регулировки регулятора тормозных сил на Лада Нива Шевроле.

error: Content is protected !!